{"product":{"productId":"agid.22814","price":0.68,"name":"Afdekschijven"},"currency":"EUR"}
Material
Staal.
RVS 1.4305.
Version
Staal gezwart.
RVS blank.
RVS blank.
Meer weergeven
Minder weergeven
Beschrijving
Material
Staal.
RVS 1.4305.
Version
Staal gezwart.
RVS blank.
RVS blank.
Note
Samen met een platverzonken schroef DIN EN ISO 2009 of DIN EN ISO 10642 worden de afdekringen ingezet op het frontvlak van asuiteinden voor de axiale bevestiging en borging van handwielen en slingers met spiebaan.
De afdekringen kunnen gebruikt worden bij de handwielen K0671, K0160, K0161, K0162, K0163, K0164, K0165.De stalen afdekringen kunnen als tegenplaat voor magneten gebruikt worden.
De afdekringen kunnen gebruikt worden bij de handwielen K0671, K0160, K0161, K0162, K0163, K0164, K0165.De stalen afdekringen kunnen als tegenplaat voor magneten gebruikt worden.
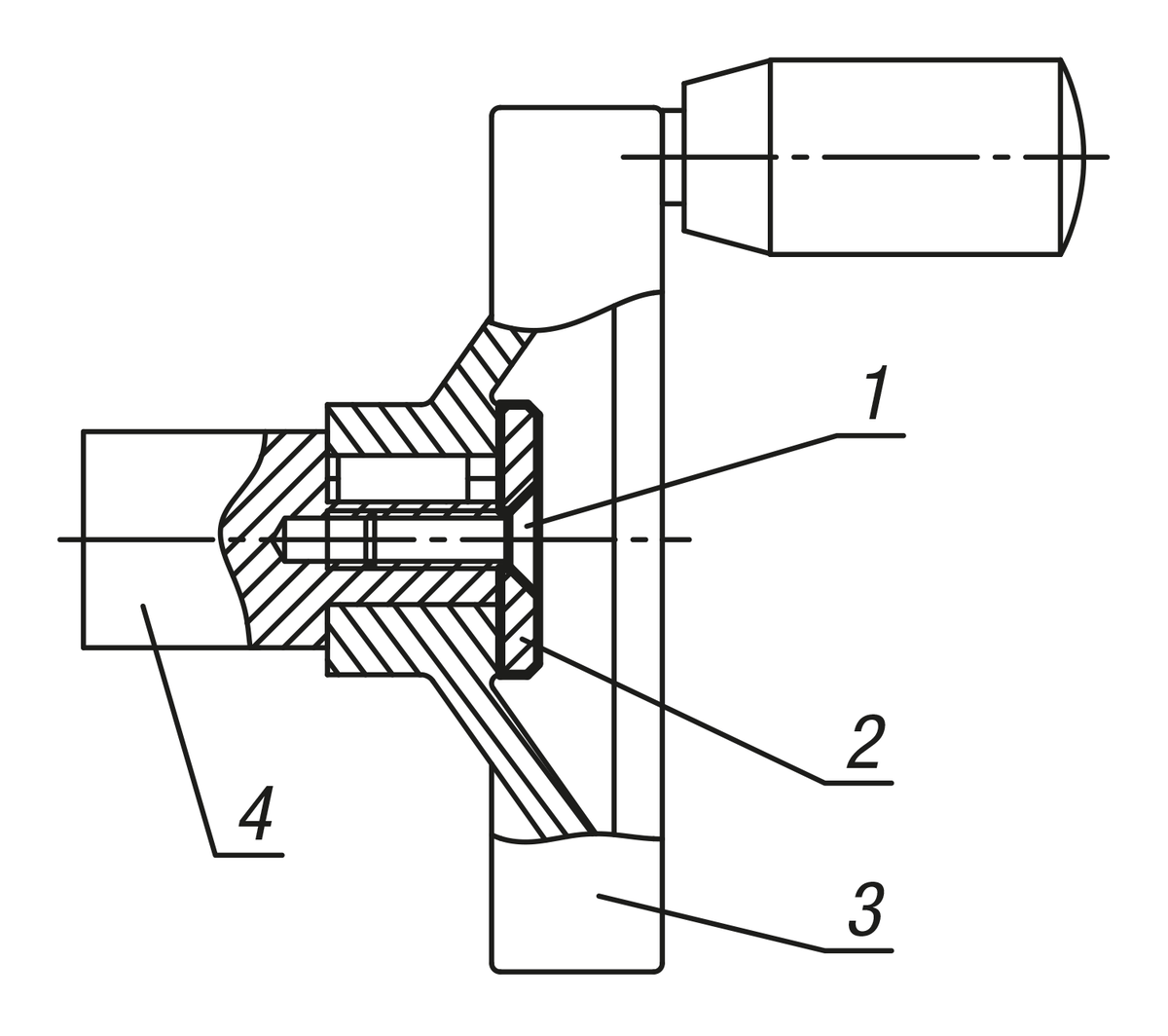
Drawing reference
D3 = voor platverzonken schroef ISO 2009 en ISO 10642
1) Platverzonken schroef ISO 2009 en ISO 10642
2) Voorlegschijf
3) Handwiel
4) As
1) Platverzonken schroef ISO 2009 en ISO 10642
2) Voorlegschijf
3) Handwiel
4) As
Belangrijke opmerking voor het downloaden van CAD-modellen
Om onze CAD-modellen te kunnen downloaden, moet u zich eerst aanmelden. Als u nog geen account hebt, dient u zich te registeren onder "Mijn account" (rechterkant van het scherm) en de instructies op te volgen.